НАЗНАЧЕНИЕ
Аппарат предназначен для теплоснабжения жилых помещений и зданий ко ммунально-бытового назначения, оборудованных системами водяного отопления с высотой столба воды в водяном контуре не более 6,5 м.
Аппарат предназначен для постоянной работы на природном газе по ГОСТ 5542-87.
Аппарат изготовлен в климатическом исполнении УХЛ, категории 4,2 по ГОСТ 15150-69.
| Характеристики |
Устройства для обеспечения безопасности |
| |
|
- Присоединительные размеры к системе отопления соответствуют "Жуковским"
- Специальная конструкция теплообменника, применение качественного материала:
а) долговечность;
б) высокий КПД;
в) надежность.
- Горелка из нержавеющей стали
- Оптимальная камера сгорания
- Контроль температуры
- Удобство монтажа и обслуживания
- Полимерное окрашивание
- Надежность
- Ремонтропригодность
|
- Терморегулятор, предотвращающий перегревание теплообменника
- Отключение подачи газа в случае погасания (контроль пламени)
- Отключение при отсутствии тяги
- Стабилизатор тяги при порывах ветра
- Низкая температура облицовки котла
|
Руководство по эксплуатации газового котла АОГВ 11,6 Eurosit (схема подключения смотрите в настоящем паспорте аппарата)
ТЕХНИЧЕСКИЕ ХАРАКТЕРИСТИКИ
| Наименование параметра или размера |
Величина |
| АОГВ 11,6-1 |
АОГВ 17,4-1 |
АОГВ 23,2-1 |
| 1. Топливо |
Природный газ |
| 2. Номинальное давление природного газа перед блоком автоматики, Па ( мм.вод.ст.) |
1274 (130) |
| Диапазон давления природного газа, мм.вод.ст. |
65…180*1 |
| 3. Объемное содержание окиси углерода в сухих неразбавленных продуктах сгорания природного газа, % не более |
0,05 |
| 4. Коэффициент полезного действия аппарата, % не менее |
89 |
| 5. Теплоноситель |
вода |
| 6. Параметры теплоносителя, не более: |
0,1 |
| - абсолютное давление, МПа; |
| - максимальная температура, ºС |
95 |
| - карбонатная жесткость, мг-экв/кг, не более |
0,7 |
| - содержание взвешенных веществ |
отсутствует |
| 7. Номинальная тепловая мощность автоматического горелочного устройства, кВт (ккал/ч) |
11,6 (10000) |
17,4 (15000) |
23,2 (20000) |
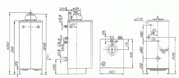
| 8. Размер штуцера для подвода газа: |
|
|
|
| - условный проход Ду, мм |
15 |
20 |
20 |
| - резьба по ГОСТ 6357 – 81, дюйм |
G 1/2 -В |
G 3/4 -В |
G 3/4 -В |
| 9. Параметры автоматики безопасности |
60
|
- время отключения подачи газа на
запальную и основную горелки, сек |
- при прекращении подачи газа или отсутствии
пламени на запальной горелке, не более |
60 |
| - при отсутствии тяги в дымоходе, не более не менее |
10 |
| 10. Разрежение в дымоходе за аппаратом, Па |
от 2,94 до 29,4 |
| мм. вод. ст. |
от 0,3 до 3,0 |
| 11. Условный проход водяных присоединительных патрубков Ду, мм |
40 |
50 |
50 |
| - резьба по ГОСТ 6357 – 81, дюйм |
G 1 1/2 -B |
G 2 -B |
G 2 -B |
| 12. Масса аппарата, кг, не более |
45 |
50 |
55 |
| 13. Отапливаемая площадь, м2, не более |
90 |
140 |
190 |
| 14. Ёмкость бака теплообменника, литр |
39,7 |
37,7 |
35 |
| 15. Максимальная температура отходящих в дымоход продуктов сгорания, °С (придавлении газа 180 мм.вод.ст.) |
130 |
160 |
210 |
| *1 ПРИМЕЧАНИЕ. Аппарат защищен от аварийной подачи входного давления газа до 500 мм. вод. ст. конструкцией газового клапана. |

УСТРОЙСТВО И ПРИНЦИП РАБОТЫ.
Аппарат состоит из следующих узлов и деталей: бака - теплообменника, основной горелки, блока запальной горелки с установленными в нем термопарой и электродом розжига, комбинированного газового клапана (многофункционального регулятора), тягостабилизатора, деталей облицовки.
В верхней части бака – теплообменника установлен датчик терморегулятора, соединенный капиллярной трубкой с исполнительным устройством терморегулирующего клапана (система «сильфон – термобаллон»), и датчик термометра
Особенностью конструкции комбинированного клапана 630 EUROSIT является наличие устройства стабилизации выходного давления газа, а также совмещение управления клапаном в одной рукоятке с обозначением положений соответствующими символами и цифрами на её торце и указателем на крышке клапана. Зависимость температуры нагреваемой воды от положения шкалы рукоятки управления представлена ниже:
| Цифры шкалы |
1 |
2 |
3 |
4 |
5 |
6 |
7 |
| Температура нагрева воды, °С |
30 |
40 |
50 |
60 |
70 |
80 |
90 |
Принцип действия регулятора температуры основан на расширении жидкости при нагреве. Рабочая жидкость, нагреваясь в датчике (термобаллоне) от воды в баке – теплообменнике, нагреваемой за счет сгорания природного газа, расширяется и перетекает по капиллярной трубке в сильфон, преобразующий объёмное расширение в линейное перемещение механизма, приводящего в действие систему двух клапанов (мгновенного и дозирующего). В конструкции механизма предусмотрена защита от термической перегрузки, что предохраняет систему «сильфон – термобаллон» от повреждения и разгерметизации.
- При установке требуемой температуры воды в аппарате рукояткой управления на повышение сначала открывается мгновенный (щелчковый) клапан, затем дозирующий.
- При достижении температуры воды в аппарате установленного значения плавно прикрывается дозирующий клапан, переводя основную горелку в режим «малый газ».
- При повышении температуры сверх заданной срабатывает мгновенный (щелчковый) клапан, полностью перекрывая газ на основную горелку.
- При отсутствии тяги в дымоходе отходящие из топки газы нагревают датчик тяги, датчик срабатывает, размыкая нормально замкнутые контакты цепи термопары. Электромагнитный (входной) клапан закрывается и перекрывает доступ газа на основную и запальную горелки. Датчик тяги рассчитан на срабатывание за время отсутствия тяги не менее 10 сек.
- При прекращении подачи газа из сети запальная горелка мгновенно гаснет, термопара остывает, электромагнитный клапан закрывается, перекрывая доступ газа к основной и запальной горелкам. При возобновлении подачи газа проход через аппарат полностью перекрыт.
- При снижении давления газа в сети ниже 0,65 кПа давление газа на запальной горелке также упадет, ЭДС термопары снизится до величины, недостаточной для удержания клапана. Электромагнитный клапан закроется и перекроет доступ газа к горелкам.
РАЗМЕЩЕНИЕ И МОНТАЖ
Размещение и монтаж аппарата, а также подводка к нему газа производится специализированной строительно-монтажной организацией по проекту, согласованному с эксплуатационным предприятием (трестом) газового хозяйства.
Помещение, где устанавливается аппарат, обязательно должно иметь свободный доступ воздуха извне и вентиляционную вытяжку у потолка.
Температура помещения, в котором устанавливается аппарат, не должна быть ниже +5 ºС.
Выбор места под установку аппарата производить в соответствии с указаниями мер безопасности, изложенными в разделе 7 настоящего паспорта.
Аппарат устанавливается у несгораемых стен на расстоянии не менее 10 см от стены.
- При установке аппарата у трудносгораемой стены её поверхность должна быть изолирована стальным листом по листу асбеста толщиной не менее 3 мм, выступающим на 10 см за габариты корпуса. Перед аппаратом должен быть проход шириной не менее 1 метра.
- При установке аппарата на сгораемом полу пол должен быть изолирован стальным листом по листу асбеста толщиной не менее 3 мм. Изоляция должна выступать за габариты корпуса на 10 см.
Перед началом монтажа необходимо провести расконсервацию аппарата, проверить правильность его сборки в соответствии с рис. 1 и рис. 8 настоящего паспорта, и убедиться в надежном и полном закреплении всех деталей и сборочных единиц.
Присоедините аппарат к дымоходу, газопроводу и трубам системы отопления. Соединительные трубы трубопроводов должны быть точно подогнаны к месту расположения входных штуцеров аппарата. Присоединение не должно сопровождаться взаимным натягом труб и узлов аппарата.
УКАЗАНИЯ МЕР БЕЗОПАСНОСТИ
К обслуживанию аппарата допускаются лица, изучившие настоящий паспорт.
Монтаж и эксплуатация аппаратов должны соответствовать требованиям «Правил устройства и безопасности эксплуатации водогрейных котлов, водонагревателей и паровых котлов с избыточным давлением», а также требованиям «Правил безопасности систем газораспределения и газопотребления. ПБ 12 - 529», утвержденных Госгортехнадзором России.
Эксплуатация аппаратов должна осуществляться согласно «Правилам пожарной безопасности для жилых домов, гостиниц, общежитий, зданий административных учреждений и индивидуальных гаражей ППБ – 01 – 03».
Работа аппарата разрешается только с исправной автоматикой безопасности и терморегулирования.
Газовая автоматика безопасности должна обеспечивать:
- Уменьшение подачи газа при достижении температуры воды в отопительной системе заданного значения.
- Отключение подачи газа на основную горелку при превышении заданной температуры нагрева.
- Отключение подачи газа в аппарат в следующих случаях:
- при прекращении подачи газа на аппарат (за время не более 60 сек);
- при отсутствии разрежения тяги или в топке котла (за время не менее чем 10 сек и не более чем 60 сек);
- при погасании факела запальной горелки (за время не более 60 сек.).
При эксплуатации аппарата температура горячей воды не должна превышать 95 °С.
Запрещается:
- эксплуатировать аппарат при частично заполненной водой системе отопления;
- применять в качестве теплоносителя вместо воды другие жидкости**;
- устанавливать запорно – регулирующую арматуру на подающей линии и трубопроводе, соединяющем систему отопления с расширительным баком;
- эксплуатировать аппарат при утечке газа через соединения газопровода;
- применять открытое пламя для обнаружения утечек газа;
- эксплуатировать аппарат при неисправности газовой сети, дымохода или автоматики;
- самостоятельно устранять неисправности в работе аппарата;
- вносить какие-либо конструктивные изменения в аппарат, газопровод и систему отопления.
При неработающем аппарате все газовые краны: перед горелкой и на газопроводе перед аппаратом – должны быть в закрытом положении (ручка крана перпендикулярна газопроводу).
Обо всех неполадках при работе аппарата на газе необходимо немедленно сообщить аварийной службе эксплуатационного предприятия газового хозяйства.
В случае обнаружения в помещении газа следует немедленно прекратить его подачу, проветрить все помещения и вызвать аварийную или ремонтную службу. До устранения неисправности запрещается в помещении зажигать спички, курить, применять
** Допускается применение бытового теплоносителя «Ольга» (изготовитель: ЗАО «Завод органических продуктов») согласно инструкции на применение. После периода эксплуатации теплоноситель необходимо слить и провести его утилизацию.
На данной странице использованы материалы сайта производителя ОАО «Боринское» |